
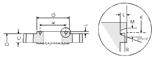
| Nominal Flange Size | Raised Face | Groove | |||
| G | K | L | M | R | |
| Face Diameter min | Pitch Diameter | Depth | Width | Radius at Bottom | |
| Inch | Inch | Inch | Inch | Inch | Inch |
| 10 | 16.75 | 13.5 | 0.68 | 1.18 | 0.09 |
| 12 | 16 | 15 | 0.25 | 0.34 | 0.03 |
| 14 | 16.75 | 15.62 | 0.25 | 0.34 | 0.03 |
| 16 | 19 | 17.87 | 0.25 | 0.34 | 0.03 |
| 18 | 21.5 | 20.37 | 0.25 | 0.34 | 0.03 |
| 20 | 23.5 | 22 | 0.25 | 0.34 | 0.03 |
| 24 | 28 | 26.5 | 0.25 | 0.34 | 0.03 |
